The mechanical excavator grapple is an economical solution for light weight and general purpose applications. Ideal for farms, small holdings and agricultural contractors for clearing wood, rocks and brash. The JB mechanical excavator grab is also well suited for skip waste, land clearance and general forestry applications.
The JB Equipment Mechanical Selector Grab is a popular budget choice for sorting and handling applications such as demolition and skip waste. Using the tried and tested 7 tine set up the MSG1 is best suited to excavators from 1 tonne to 2 tonne such as a Kubota U17 or Takeuchi TB216.
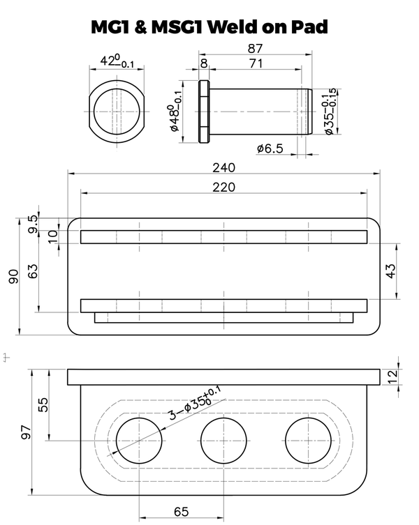
Supplied as 3 part kit; grab (with 2 pin linkage to suit excavator), weld on dipper pad and link arm.
The grab utilises the crowd function of the bucket ram to operate the opening and closing of the grab without the need for self contained hydraulics. The link bar of the grab is connected to the dipper arm via a welded plate which fixes the 4 tine jaw in place.
Fully bushed and greaseable pivot points and line bore machining give the mechanical selector grab an excellent service life.
Specifications
Models available to suit 1.5 - 20 tonne excavators, with larger models available on request.
This page is for the JB excavator mounted mechanical grapple - modelMSG1to suit1-2 tonne excavators
MSG1 Features
Typical lead time (can vary): 2-3 days
Includes 2 pin excavator linkage
Bolt on wear edges
Shell type design
Line bored & fully greaseable pivot points
Supplied as three piece kit - grapple, connecting bar & 3 position weld on dipper arm plate
MSG1 1-2 Tonne Mini Digger Mechanical Selector Grab
The mechanical excavator grapple is an economical solution for light weight and general purpose applications. Ideal for farms, small holdings and agricultural contractors for clearing wood, rocks and brash. The JB mechanical excavator grab is also well suited for skip waste, land clearance and general forestry applications.
The JB Equipment Mechanical Selector Grab is a popular budget choice for sorting and handling applications such as demolition and skip waste. Using the tried and tested 7 tine set up the MSG1 is best suited to excavators from 1 tonne to 2 tonne such as a Kubota U17 or Takeuchi TB216.
Supplied as 3 part kit; grab (with 2 pin linkage to suit excavator), weld on dipper pad and link arm.
The grab utilises the crowd function of the bucket ram to operate the opening and closing of the grab without the need for self contained hydraulics. The link bar of the grab is connected to the dipper arm via a welded plate which fixes the 4 tine jaw in place.
Fully bushed and greaseable pivot points and line bore machining give the mechanical selector grab an excellent service life.
×
Models available to suit 1.5 - 20 tonne excavators, with larger models available on request.
This page is for the JB excavator mounted mechanical grapple - modelMSG1to suit1-2 tonne excavators
×
Typical lead time (can vary): 2-3 days
Includes 2 pin excavator linkage
Bolt on wear edges
Shell type design
Line bored & fully greaseable pivot points
Supplied as three piece kit - grapple, connecting bar & 3 position weld on dipper arm plate
×
Lead times:If your item is displaying as in stock, this will typically take between 5-7 working days for dispatch. This allows us to finish the product with the necessary bracket to fit your machine.
Many attachments with common brackets such as JCB 3CX, 50mm pin, 60mm pin, 65mm pin diameters, skid steer, as well as hydraulic thumbs, are normally available from finished stock and can be dispatched much sooner.
Lead times can fluctuate based on product type and seasonal demand, so if you require an item urgently we kindly request that you contact us prior to ordering so that we can assist.
Ordering is simple - you can do so by:
Entering your excavator information above (if prompted) and purchasing securely online.
Contacting us by telephone, email or live chat and a team member will process your order via proforma invoice or credit / debit card.
All of our attachments are supplied with a standard 2 pin excavator linkage similar to the photo below, which is often unique according to your make and model of excavator. In nearly all cases, we will reach out to you (normally via email) to confirm your pin dimensions to ensure correct fitment. If this is not possible for any reason and we are not advised otherwise, we will supply the standard OEM measurements that we have on file for your excavator and assume that you have a quick hitch fitted.
If you would like to provide us with these in advance to ensure correct fitment, please follow the instructions on our Measuring Pin Dimensions Page and enter this information in the 'Add a note to your order' field of your online order. Unfortunately, JB Equipment Ltd are not responsible for incorrect measurements and additional charges to rectify or replace may occur.
Specialist linkages such asKlacorHarford Safelockarenot includedas standard, but can be accommodated for an extra charge on request.
Due to the variable nature of different excavator brands and models, if you are ordering hydraulic hoses as a separate item or if hoses are included with an attachment package as standard, JB Equipment are not responsible should these lengths be either too long or too short. We advise to check these against your machine prior to ordering.
Delivery Information: Deliveries are handled through a third party pallet distribution network and will typically require a signature and forklift (or similar) for unloading. Unfortunately delivery dates are not guaranteed, but typically takes between 24-48hrs. For full delivery information, please visit our Delivery Information page.
VAT Invoice: The website price as displayed on the product page and during checkout is inclusive of UK VAT at 20%. A full VAT can be downloaded via the 'Dowload VAT Invoice PDF' link on your confirmation email (please check your spam folder if you can't locate the email).
Warranty: All JB Equipment products are supplied with a 12 month return to base warranty.
×
We deliver across the UK, Europe & World. Please refer to the information below for more information about your location.
Our deliveries are treated as a business to business service and the recipient must ensure that there is someone present to sign for and unload the goods. The delivery firm will be given the contact telephone number that you provide to us when ordering. If the driver unable to reach you, it will be up to the discretion of ourselves and / or the delivery firm to either authorise the pallet to be left in an appropriate place (if possible) or take it away for redelivery. Redelivery charges will apply.
The below prices and are for a single 1 x 1.2m pallet only which will accommodate most products.
Some products may have reduced shipping rates or attract additional charges depending on its specific size or weight.
UK Mainland - £78 inc vat (£65 ex vat)
Rest of Europe & World - POA Please email
European & worldwide pallet charges can vary, so we recommend contacting us prior to ordering. Some destinations are available to checkout online but are subject to change.
Typically a 1 x 1.2m pallet charge to most European mainland countries is in the region of £100 - £280 + vat.
VAT- Website prices include 20% UK VAT, unless otherwise stated. If you are shopping from abroad and VAT registered in another EU country, you can either checkout online and enter your VAT number for automatic verification and VAT deduction or contact us to arrange payment via invoice.
IMPORTANT: Any customs or import duties are charged once the order reaches its destination country and must be paid by the recipient of the order.
Whether we are delivering to a UK or International address, the same procedures apply for most products.
You will usually require:
- A forklift (or similar) for unloading
- Someone to receive and sign for the goods
- A manned telephone number so the courier can contact you if required (failed deliveries are chargeable)
Deliveries are handled through a third party courier network so unfortunately we are unable to advise who the local firm in your area will be.
PLEASE NOTE: In some instances, we may tack weld a product to a metal pallet for shipping, safety & efficiency purposes. These will be applied in non-crucial areas and can easily be removed with an angle grinder or equivalent tool.
×
Finance through Klarna is available when checking out online, helping you build for the future and ensuring you are properly equipped with the assets you need for growth. Klarna Financing gives you the option to buy now and pay over time with monthly plans between 6-36 months, interest bearing or interest free. You can achieve increased purchasing power and improved ability to manage cash flow.
Already have your own finance broker? There are a number independent brokers construction and agricultural finance brokers, one of which you may have used before. If you'd like to use them again, just establish what equipment you would like to invest in and have them to get in touch with us directly - we can sort the rest directly with them.
Please note: For many independent finance brokers, they typically a minimum order value of £5,000 in order for finance to be both offered, approved and financially competitive. For orders below this threshold, it is advisable to consider using a typical high street credit card or Klarna option above, as these are often more competitive. Financed packages via a broker involve some level of paperwork and credit checks to be completed. This can take several days to be processed, so please take this into consideration if you are in need of the equipment quickly.
Spread the cost over time
Finance enables you to acquire an asset while paying for it in instalments over an agreed timescale – the term. At the end of the term, you have the option to purchase the asset outright.
It lets you spread the cost of your investment over the life of the asset, making it easier to budget. Hire Purchase is particularly suitable for acquiring vehicles, machinery, construction and commercial equipment with a resell value.
Benefits of Finance
More time to repay - Spread the cost over the life of the asset
Seasonality - Possiblity to structure repayments to take account of seasonal fluctuations in your cash flow.
Keep control - You are the owner of the asset for tax purposes and can normally claim capital allowances
Tax efficient - You can offset hire purchase interest and charges against pre-tax profits
Reclaim VAT
×
From our UK headquarters in Hertfordshire, we can provide rapid delivery of our products nationwide, as well as on site viewings of our stock items should you wish to see a product prior to purchase. In a hurry? You can collect your order from us free of charge the moment we notify you it is ready.
We also operate a full fabrication, customisation and support services for both pre-sales and after sales purposes.
So, if you've seen something you like but it's not quite right - please contact us to see if we are able to accommodate your request.
We generally operate the following equipment on our own site for R&D and manufacturing purposes: - Heavy duty Lorch welders - Swiftcut Pro plasma table - Hypertherm 125 Powermax plasma cutter - Mast Forklifts - JCB Teletruk - JCB Telehandlers - Kubota U20, Kubota KX080-4 and Takeuchi TB2150 excavators
Please note: Our warehouse and yard address above is typically staffed between 8:30am - 5pm on weekdays - if you would like to visit or collect an order at a weekend, please contact us using one of the methods to see if this can be arranged. We are typically closed on bank holidays and bank holiday weekends.
JB Equipment Ltd | Company Reg. No. 11982681 | VAT No. GB 332868385 | EORI No. GB332868385000 | Registered Office Only: Unit 7a Waterside Business Park, Waterside, Chesham, Buckinghamshire, England, HP5 1PE